jumpToMainContent
It looks like you are visiting from a different region. Select your country or region for location-specific content.
Go to Ireland
ASSA ABLOY
  • Meist
  • Kontakt
  • Lahendused
  • Jätkusuutlikkus
  • Kust osta
  • Tooted
    • Elektrilised vasturauad
    • Läbipääsukontroll
    • Sulgurid
    • Digitaalsed ukselukud
    • Ehitussulused
    • Lukusüdamikud
    • Peitlukud
    • Avariiväljapääsu tooted
  • Lahendused teemade järgi
    • Läbipääsukontroll
    • Uksesulgurid
    • BIM-Specifications
  • Lahendused igale tööstusharule
    • Lennundus
    • Koolitus
    • Laialivedu ja logistika
    • Meelelahutus- ja avalikud asutused
    • Rahandus ja pangandus
    • Valitsus ja sõjavägi
    • Tervishoid
    • Majutus
    • Tööstus ja tootmine
    • Kaevandus
    • Kontor ja ettevõte
    • Eluruumid
    • Jaemüük
    • Laevatehased
    • Transport
ASSA ABLOY
  • Tulekaitse
  • Mudelivalik 143® ProFix® 1

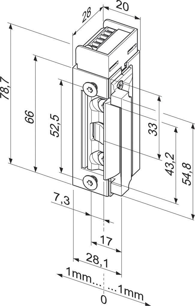
Elektriline vasturaud 143.20

Toote kirjeldus

Mudel, millel on seirekontaktiks potentsiaalivaba üleminekukontakt. Selle käivitab liuguri abil tuulekeel.

Samuti võimalik kasutada kõrge turvalisusega vasturauana

Ülevaade eelistest

  • Raadiuse hoidja, FaFix®, reguleeritav 2 mm ulatuses
  • Uus ühendustehnoloogia, võimalik ümber ühendada
  • 12-24 V pingevahemik käitamiseks nii vahelduv- kui alalisvoolu abil
  • Vastupidav pidevale voolule kogu pingevahemikus
  • Kõiki mudeleid saab soovikohaselt paigaldada (parema-/vasakukäeliselt/horisontaalselt)
  • Integreeritud häiresummutusdiood
  • Ühildub ProFix® 1 siledate vasturaudadega
  • Võimalik määrata eelkoormuse režiim 400 N või 800 N

Märkus

  • Kõiki versioone saab paigaldada vasakule, paremale või horisontaalselt. Kui ruum on piiratud, saab terminaliploki paigaldada ka eemale.
f7219-143_10.jpg
f7219-143_10.jpg

1 of 2

Cookie consent

This video is hosted by YouTube. By showing the external content you accept the terms and conditions of www.youtube.com.

*Your choice will be saved in a cookie until you have closed your browser.

  • Lahendused
  • Jätkusuutlikkus
  • Kust osta
  • Kontaktid
  • LinkedIn
  • Facebook
  • Instagram
  • YouTube
  • © ASSA ABLOY
  • Õiguslik
  • Privaatsuskeskus
  • Vilepuhumine
ASSA ABLOY
Experience a safer and more open world
  • Lahendused
  • Tooted
  • Elektrilised vasturauad
  • Läbipääsukontroll
  • Sulgurid
  • Digitaalsed ukselukud
  • Ehitussulused
  • Lukusüdamikud
  • Peitlukud
  • Avariiväljapääsu tooted
  • Lahendused teemade järgi
  • Läbipääsukontroll
  • Uksesulgurid
  • BIM-Specifications
  • Lahendused igale tööstusharule
  • Lennundus
  • Koolitus
  • Laialivedu ja logistika
  • Meelelahutus- ja avalikud asutused
  • Rahandus ja pangandus
  • Valitsus ja sõjavägi
  • Tervishoid
  • Majutus
  • Tööstus ja tootmine
  • Kaevandus
  • Kontor ja ettevõte
  • Eluruumid
  • Jaemüük
  • Laevatehased
  • Transport
  • Jätkusuutlikkus
  • Kust osta
  • ASSA ABLOY volitatud partnerid
  • ABLOY volitatud edasimüüjad
  • Teised lukufirmad
  • Akna- ja uksetootjad