jumpToMainContent
It looks like you are visiting from a different region. Select your country or region for location-specific content.
Go to Ireland
ASSA ABLOY
  • About Us
  • Contact Us
  • Solutions
  • Sustainability
  • Products
    • Panic Exit Device
    • Mortise Locks
    • Door Closers
    • Architectural Hardware
    • Digital Door Locks
    • Cylinders
    • Escape Route Technology
    • Electric Strikes
    • Access Control
  • Solutions by topic
    • Access Control
    • Door Closers
    • BIM & specification
  • Solutions for every industry
    • Aviation
    • Education
    • Distribution and logistics
    • Entertainment and public facilities
    • Finance and banking
    • Government and military
    • Healthcare
    • Hospitality
    • Industry and manufacturing
    • Mining
    • Office and enterprise
    • Residential
    • Retail
    • Shipyards
    • Transportation
ASSA ABLOY
  • Emergency exit strikes
  • Model 332

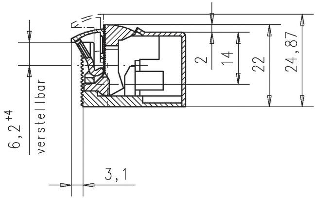
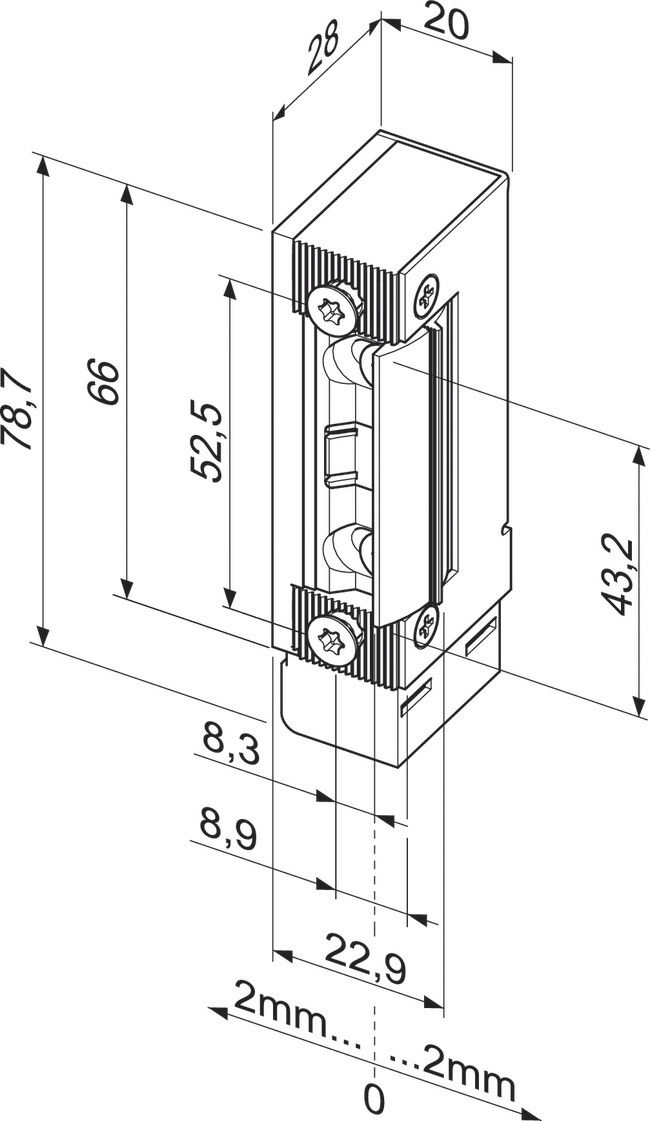
Escape door strike 332.80 (RRAKRR)

Rapid, straightforward mounting on to a wide variety of door frame and profiles.

Product description

The compact construction of the effeff 332.80 allows rapid, straightforward mounting onto a wide variety of door frame and profiles.

Overview of Advantages

  • Radius latch
  • Compact design
  • Min. 2000 N, max. 3000 N holding power according to prEN13633 and prEN 13637
  • Unlocking under preload with 100% holding power
  • Monitoring contact is potential-free and armature contact is non-isolated *
  • Suitable for DL/DR and horizontal installation
  • Low power consumption
  • Compact fitting dimensions
  • Adjustable FaFix® latch: 4 mm adjustment range with 0.5 mm increments
  • Adjustable via Fix grooves in housing
  • Monitoring flap moves together with the FaFix® screw-on attachment, i.e. the switching point always remains the same
  • Optionally available with fixed latch

Note

  • Can only be used as a supplementary locking device on fire doors
  • * Coupling Relay 7480 is required for parallel operation.
08679-332_80.jpg
08679-332_80.jpg

1 of 3

Cookie consent

This video is hosted by YouTube. By showing the external content you accept the terms and conditions of www.youtube.com.

*Your choice will be saved in a cookie until you have closed your browser.

  • Solutions
  • Sustainability
  • Contact us
  • LinkedIn
  • Facebook
  • Instagram
  • YouTube
  • © ASSA ABLOY
  • Cookies
  • Legal
  • Privacy center
  • Whistleblowing
ASSA ABLOY
Experience a safer and more open world
  • Solutions
  • Products
  • Panic Exit Device
  • Mortise Locks
  • Door Closers
  • Architectural Hardware
  • Digital Door Locks
  • Cylinders
  • Escape Route Technology
  • Electric Strikes
  • Access Control
  • Solutions by topic
  • Access Control
  • Door Closers
  • BIM & specification
  • Solutions for every industry
  • Aviation
  • Education
  • Distribution and logistics
  • Entertainment and public facilities
  • Finance and banking
  • Government and military
  • Healthcare
  • Hospitality
  • Industry and manufacturing
  • Mining
  • Office and enterprise
  • Residential
  • Retail
  • Shipyards
  • Transportation
  • Sustainability