Panikregel PE903, Passiv dörr

Användningsområde

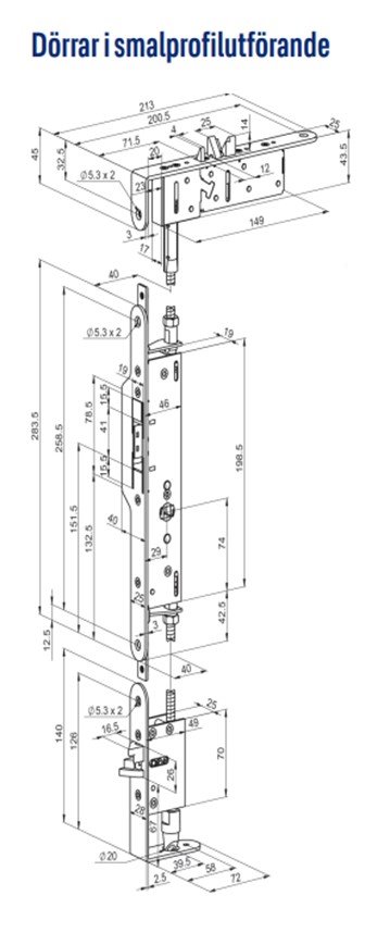
Panikregel PE903 (tidigare 1143:2) är en elektromekanisk panikregel i smalprofilutförande för PASSIV del av utåtgående pardörr. Passar mot ABLOY motorlås EL495 med panikregel PBE003 (tidigare 1143).
Rekommenderas till dörrar med utrymningskrav där risk för trängsel kan uppstå, t ex köpcentrum, hotell,

Egenskaper

  • Innehåll i paket PE903: panikregel PBE003, mittenlås LE943, bottenlås LE930, topplås PE941, kabel EA221, karmöverföring EA281, sammankopplande stänger
  • PE903: Infälld/mekanisk/vändbar/smalprofil
  • Elektrisk panikregel för utåtgående passiv del i pardörr
  • Dörrautomatik på både aktivt och passivt dörrblad kan användas
  • Slutblecksenhet, stänger och låsreglar monteras infällt i dörrbladet
  • Slutblecksenhet kräver min 46 mm profilbredd
  • Certifierad enligt SS-EN 1125
  • Max karminnermått 1320 mm
  • Tryckstången kan enkelt kapas för att passa aktuellt dörrmått
  • Tryckstång tillverkas av mattborstat rostfritt stål och kåpor i mattkrom
  • Levereras i vändbart höger- eller vänsterutförande
  • Teknisk specifikation: se även nedladdningsbar broschyr
  • Dorndjup: 29 mm
  • Funktion: Elektrisk
  • Spänning: 12/24V
  • Strömförbrukning: 12V, max 550 mA, normal 240mA. 24V, max 300mA, normal 130mA
  • Relä för lås: 0,4A 30V DC/V DC max 10W
  • Medföljande stolpe till mittenlås i paket: 815766
  • Medföljande regel till bottenlås i paket: 813366 & 928136

Funktion

  • Elektromekanisk utrymning
  • Produkt för elektromekanisk öppning av passivt dörrblad
  • Passivt dörrblad kan alltid öppnas med nödhandtag eller panikregel.
  • Det passiva dörrbladet är kompatibelt med installation av dörrautomatik.
  • Topplåset på det passiva dörrbladet kan frigöras elektriskt.
  • Aktiv dörrblad utrustas med motorlås ABLOY EL495.
  • Topplås: Automatlåsande tulpankolv, elektromekanisk funktion.
  • Mittenlås: Frigör låsfallet på aktiv dörr, låser upp topplås och bottenlås
  • Bottenlås: Låser dörrens undersida genom att automatregla ner i golv eller tröskel

Cookie consent

This video is hosted by YouTube. By showing the external content you accept the terms and conditions of www.youtube.com.

*Your choice will be saved in a cookie until you have closed your browser.