Evakuācijas durvju slēdzene 332.80 (RRAKRR)

Izstrādājuma apraksts

Kompaktā effeff 332.80 konstrukcija nodrošina ātru un vienkāršu montāžu uz dažādiem durvju rāmjiem un profiliem.

Priekšrocību pārskats

  • Fiksatora rādiuss
  • Kompakts dizains
  • Min. 2000 N, maks. 3000 N turēšanas spēks saskaņā ar prEN13633 un prEN 13637
  • Atslēgšana ar iepriekšēju noslodzi ar 100% turēšanas spēku
  • Uzraudzības kontakts ir bezpotenciāla un armatūras kontakts nav izolēts*
  • Piemērots DL/DR un horizontālai uzstādīšanai
  • Mazs enerģijas patēriņš
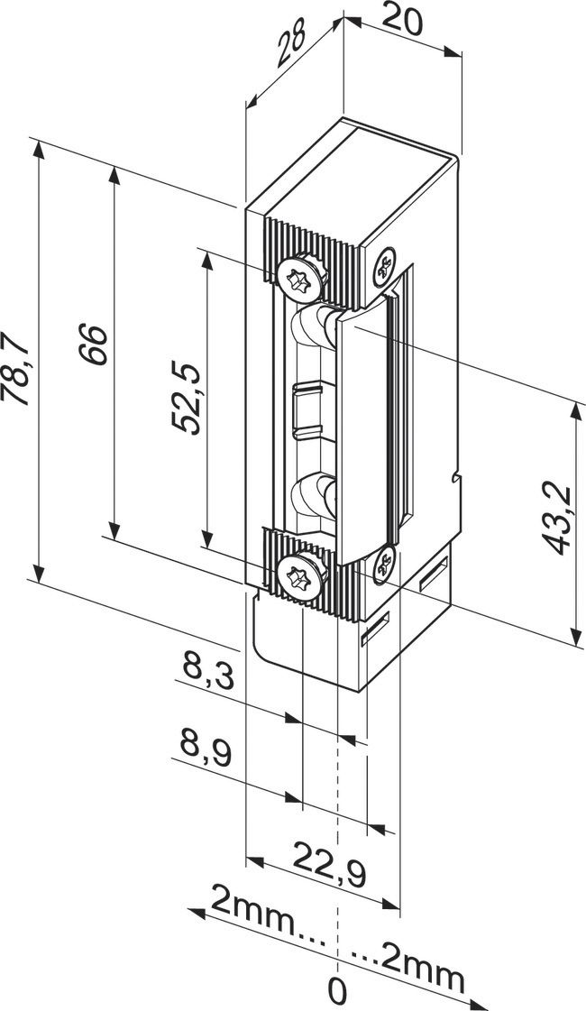
  • Kompakti stiprinājumu izmēri
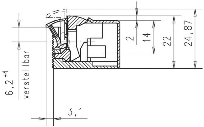
  • Regulējams FaFix® fiksators: 4 mm regulēšanas diapazons ar 0,5 mm iedalījumiem
  • Regulējams ar korpusa Fix gropēm
  • Uzraudzības atloks pārvietojas kopā ar FaFix® ieskrūvējamo pierīci, t. i., pārslēgšanas punkts vienmēr ir nemainīgs
  • Papildus pieejams ar fiksētu fiksatoru

Piezīme

  • Ugunsdrošām durvīm iespējams izmantot tikai kā papildu slēgšanas ierīci
  • * Paralēlai darbībai ir nepieciešams savienojuma relejs 7480.
29874-332_80.jpg
29874-332_80.jpg

Cookie consent

This video is hosted by YouTube. By showing the external content you accept the terms and conditions of www.youtube.com.

*Your choice will be saved in a cookie until you have closed your browser.