Evakuacinių durų skląstis 332.80 (RRAKRR)

Gaminio aprašymas

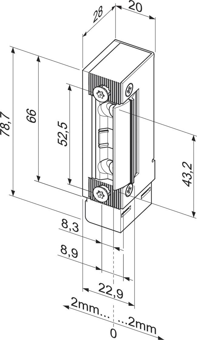
Kompaktiška „effeff“ 332.80 konstrukcija leidžia greitai, paprastai sumontuoti įvairiuose durų rėmuose ir profiliuose.

Privalumų apžvalga

  • Spindulinis skląstis
  • Kompaktiškas
  • Min. 2000 N, maks. 3000 N laikymo jėga pagal prEN13633 ir prEN 13637 reikalavimus
  • Atrakinama iš anksto įkrovus 100 % laikymo jėga
  • Stebėjimo kontaktas yra bepotencialis, o armatūrinis kontaktas – neizoliuotas*
  • Tinka naudoti su DL/DR ir montuojant horizontaliai
  • Mažos energijos sąnaudos
  • Kompaktiškas korpusas
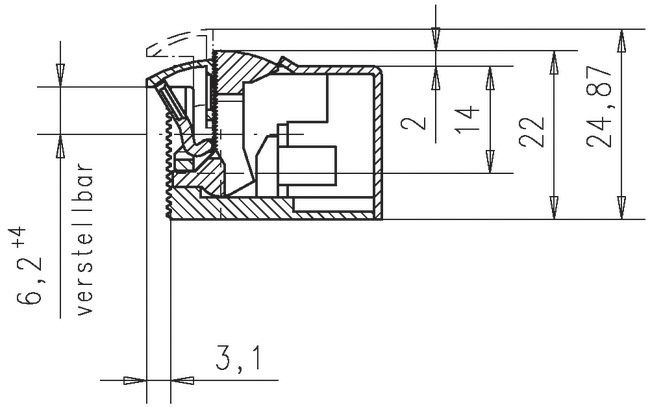
  • Reguliuojamas „FaFix®“ skląstis: 4 mm reguliavimo diapazonas 0,5 mm intervalais
  • Reguliuojama naudojant „Fix“ griovelius korpuse
  • Stebėjimo sklendė juda kartu su „FaFix®“ įsukamuoju priedu, t. y. perjungimo taškas visada išlieka ta pats
  • Galima užsisakyti su fiksuotu skląsčiu

Pastaba

  • Galima naudoti tik su pagalbiniu užrakinimo įtaisu duryse su apsauga nuo gaisro
  • * Lygiagrečiajam valdymui reikalinga jungiamoji relė 7480.
08679-332_80.jpg
08679-332_80.jpg

1 of 3

Cookie consent

This video is hosted by YouTube. By showing the external content you accept the terms and conditions of www.youtube.com.

*Your choice will be saved in a cookie until you have closed your browser.