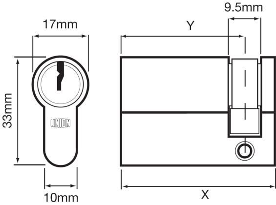
KUES / KUOS - KeyULTRA Single Cylinder - Euro or Oval

Application

  • KeyULTRA has a long patent providing peace of mind that cylinder keys cannot be copied
  • KeyULTRA benefits from DuraPIN patented key cutting, GuardPIN bump resistant technology, together with anti-drill and anti-pick features

Specification

  • Key operated to lock or unlock
  • Patented until 2028 (GB2453625 and GB2453624)
  • Suitable for fire doors
  • Bump resistant GuardPIN technology
  • Drill resistant
  • Plug extraction resistant
  • Chisel and twist resistant - when used with appropriate security escutcheon
  • Pick resistant:
  • Paracentric keyway Mushroom drivers Anti-pick notches in the differ pins
  • Wear resistance: Nickel silver differ pins
  • Extensive master keying capability - available key differs in excess of half a million
  • Supplied with 2 oversized solid nickel silver keys as standard
  • Extra keys available upon request
  • Manufactured in UK
  • Available in SC and PL finishes

Finish

  • SC - Satin Chrome
  • PL - Polished Brass

Standards

  • Cycle tested to 500,000 cycles
  • BS EN 1303:2005 
    1 6 0 1 0 C 6 2*
     *When used with appropriate security escutcheon
  • EN 1634-1 assessed for use on 60 minutes timber fire doors
8b4e2-kues_1.jpg
8b4e2-kues_1.jpg

1 of 3

Cookie consent

This video is hosted by YouTube. By showing the external content you accept the terms and conditions of www.youtube.com.

*Your choice will be saved in a cookie until you have closed your browser.